Микросварка в технологии производства микроэлектронных изделий: Точность на грани возможного

Современная микроэлектроника — это мир, где размеры элементов исчисляются микронами, а плотность монтажа достигает миллионов транзисторов на квадратный миллиметр...

Как микросварка решает задачи прецизионного соединения металлов

В современной промышленности тренд на миниатюризацию диктует жесткие условия: компоненты становятся меньше, а требования к их электропроводности и механической прочности — выше...

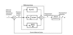
Основы ПИД-регулирования и методы его настройки

ПИД-регулятор — это алгоритм, который автоматизирует именно такие интуитивные действия. Он вычисляет управляющее воздействие на объект (двигатель, нагреватель, клапан) на основе ошибки (e)